找回密码
 立即注册
搜索
热搜: 活动 交友 discuz
查看: 122|回复: 0

李湘账号禁言风波升级!知情人称涉及税务问题,本人多家公司注销

[复制链接]

7663

主题

0

回帖

2万

积分

管理员

积分
23379
发表于 2026-1-16 16:04:57 | 显示全部楼层 |阅读模式
一夜之间,李湘三大社媒平台账号被禁止关注,同时也被禁止发布内容,封号原因引发多种猜测。





而后,李湘各大社媒评论区有了许多新评论,除了问询具体发生了什么的,就是谴责她太高调了,多年来过度炫富引发不满。当然,也有少部分网友认为可能跟税务有关系,或许也牵扯了白手套等问题。





与此同时,王诗龄的评论区也成了打卡观光地,有看热闹的网友告诉她李湘账号被封了,也有嫌事儿不大的网友期望王诗龄的账号也被封禁。搞笑的是李湘封号原因还尚不清楚,已经有粉丝怒骂看热闹的网友是一群仇富的跳梁小丑,心理多少有些不健康。









看到李湘此等场景,有网友表示终于敢发声了,再也不会被讽刺是嫉妒。他们纷纷表示之前指责李湘一家在娱乐圈太高调不讨喜,建议低调结果遭到粉丝攻击。李湘宠爱王诗龄的话题每年都要登上热搜,长期以来洗脑了一些不理智的跟风者,所以有网友认为李湘封号或许跟宣传了不良价值观有关系,扩大了家庭对立。





对比其他明星封号,李湘被封得很突然,几乎没有任何预警,所以不少网友并不相信是炫富所致,认为光炫富并不值得大动干戈。但有网友表示很多走炫富路线的网红都是突然被封,不应该引导阶级对立。





当然,关于税务问题的猜测也不排除,毕竟之前一个汽车大网红就因为税务被封号了,也是事发突然。李湘常年都以有钱人的形象亮相,具体财产来源也并不清晰,除了网传早年房地产暴富的来源外,后期纯靠带货挣钱,税务查起来风险极高。而且,目前有业内爆料称李湘因为税务问题被封号,且不会公开通报。





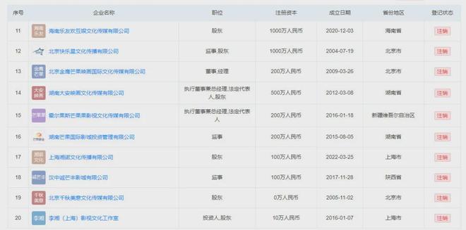
除了以上猜测外,还有一种猜测是李湘涉嫌经济犯罪。据企查查,李湘名下多家企业显示注销状态,只有一家为存续状态,还是私募股权投资企业,这个动作看起来也不正常。







看李湘社媒最近的动态,发现她在跨年之后便没有更新,相比以往也不太正常,拿12月来说,李湘几乎一日一更,行程繁忙。如今大半个月都没有一条更新,不知是不是提前知道了情况。





近些年来,李湘一家的八卦非常单一,尤其是李湘王岳伦离婚后,基本都是李湘带女儿在国外参加名流盛宴,会面的都是某某大咖或者千金王子,似乎是想牢牢绑定“上流名媛社会”的标签。剩下的便是王诗龄日常的奢侈品穿搭,小小年纪就被打扮得华丽贵气。

怪异的是还有一大群网友热衷吹捧,这可能也让李湘陷入了信息茧房,在“崇洋媚外”的势头上一去不返,曾多次发英国王室的帖子秀人脉资源,结果因为“谄媚外国人”大翻车。





也因为屡屡晒出在英国的生活,导致网友质疑她可能资产都转去英国了。



从闫学晶到李湘,可以看出明星们的言行愈发应该仔细,不论是口头夸大事实,还是社交上的形象塑造,脱离了普罗大众的人设,都很难走得长远。无论如何,还是希望明星们踏实做人吧!
您需要登录后才可以回帖 登录 | 立即注册

本版积分规则

Archiver|手机版|小黑屋|花享网 ( 琼ICP备2024046163号-1 )

GMT+8, 2026-4-21 03:52 , Processed in 0.074478 second(s), 22 queries .

Powered by Discuz! X3.5

© 2001-2025 Discuz! Team.

快速回复 返回顶部 返回列表